扬州市江河模具厂
返回首页
丨
联系我们
首页
公司简介
设备展示
荣誉资质
产品展示
在线留言
联系我们
AUDI
BMW
BYD
CHRYSLER
CITROEN
DAEWOO
DAIHATSU
FIAT
FORD
GENERAL MOTOR
HONDA
HOLDEN
HYUNDAI
ISUZU
JAGUAR
KIA
MAZDA
MERCEDES-BENZ
MITSUBISHI
NISSAN
OPEL
PEUGEOT
RENAULT
ROVER
RVI
SUBARU
SUZUKI
SAAB
SCANIA
TATA
TOYOTA
VOLKSWAGEN
VOLVO
GCH
DAF
GEELY
水室样品
模具实物
周转箱实物图
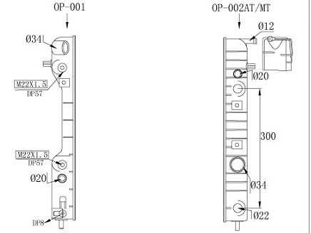
产品展示 产品展示 >> OPEL
当前位置:
首页
>
产品展示
OP-001 OP-002
友情链接:
百度
网易
新浪
搜狐
Copyright 扬州市江河模具厂 All Rights Reserved. 公司地址:扬州市广陵区广陵管委会海沃路19号 电话:0514-87822260 传真:0514-87822261
技术支持:
宏瑞科技